• 香蕉视频一直看一直爽,91香蕉污视频下载,香蕉视频污软件,香蕉视频APP污污

    欢迎访问【香蕉视频一直看一直爽过滤设备】气水分离器、香蕉视频污软件、水处理过滤器、滤芯、滤纸、液压附件源头生产厂家

    Maite filter

    旋流除砂器

    MCS-Z旋流除砂器

    免费定制方案 免费到厂考察 免费获取报价!

    产品说明:旋流除砂器被广泛应用于化工、环保、食品、医药等许多工业部门,在给水处理领域实现除污,降浊,固液分离等,效果显著。水力旋流的工作原理及设计自100多年前就已经提出,柱形旋流除砂器就是利用这种原理,是满足水力旋流器实现固液分离的应用实例。它是利...

    自主研发
    广泛应用
    智能化
    安全设计
    产品分类/Product

    香蕉视频一直看一直爽过滤 · 产品介绍

    香蕉视频一直看一直爽过滤设备携手各行业打造满足香蕉视频APP污污需求产品的保障

    旋流除砂器被广泛应用于化工、环保、食品、医药等许多工业部门,在给水处理领域实现除污,降浊,固液分离等,效果显著。

    水力旋流的工作原理及设计自100多年前就已经提出,柱形旋流除砂器就是利用这种原理,是满足水力旋流器实现固液分离的应用实例。它是利用离心分离和力沉降的实现固液分离的水处理设备,主要用来清除地下水和包括地下热水及其它水源中的固体颗粒,适用于水源热泵系统,中央空调循环冷却水,冷冻水系统,冬季冷暖循环水系统,工业冷却循环水系统等。

    设备原理:

    旋流除砂器是根据离心沉降和密度差的原理,当水流在一定的压力从除砂器进口以切向进入设备后,产生强烈的旋流运动,由于污水密度不同,在离心力、向心浮力、流体拽力的作用下,因受力不同,从而使密度低的清水上升,有溢流口排出,密度大的污由底部排污口排出,从而达到除污的目的。在一定范围和条件下,除砂器水压越大,除污率越高,并可多台并联使用。

    设备特点:

    1.结构简单、成本低廉,易于安装和操作。

    2.维护费用低,维护方便,几乎不需要维护。

    3.与扩大管、缓冲箱等除污设备相比,具有体积小、处理能力大,节省现场空间等优点。

    4.可以在不间断供水过程中清除水中的污粒。

    5.避免了其他除污方式存在水质二次污染的现象。

    6.除污效率高,效率高达96%以上。

    7.适用范围广,细沙粒到大颗粒污都能使用。

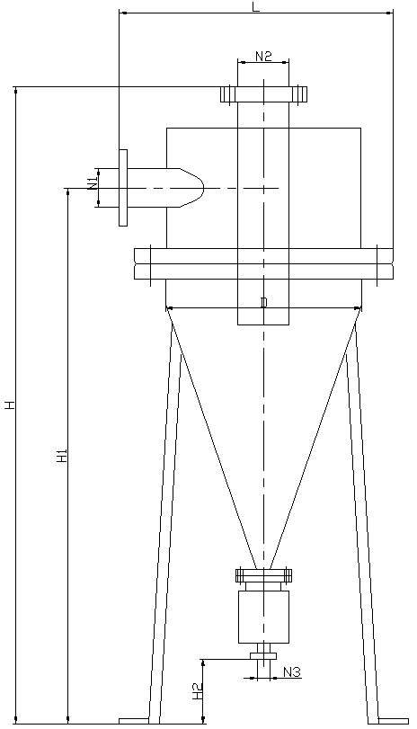
    尺寸简图

    MCS-Z除砂器尺寸图

    选型参数:

    型号

    处理量
    T/H)

    进水压力
    Mpa)

    分离径粒(mm)

    分离粒度
    mm)

    平均除污率(%)

    进水口D2
    mm)

    出水口D2
    mm)

    排污口D2
    mm)

    MCS-25×**

    20

    0.15-0.4

    1.5

    30-70

    ﹥96

    25

    40

    20

    MCS-40×**

    30

    0.15-0.4

    2

    40-100

    ﹥96

    40

    50

    20

    MCS-50×**

    50

    0.15-0.4

    3

    40-100

    ﹥95

    50

    80

    25

    MCS-80×**

    80

    0.15-0.4

    3

    40-100

    ﹥92

    80

    100

    25

    MCS-100×**

    100

    0.15-0.4

    6

    50-150

    ﹥90

    100

    125

    40

    MCS-125×**

    125

    0.15-0.4

    10

    74-200

    ﹥90

    125

    150

    65

    MCS-150×**

    150

    0.15-0.4

    10

    74-200

    ﹥90

    150

    200

    65

    MCS-200×**

    200

    0.15-0.4

    16

    74-220

    ﹥90

    200

    250

    80

    MCS-300×**

    300

    0.15-0.4

    16

    80-230

    ﹥90

    250

    300

    80

    参数表

    1)正常工作时,需开启进、出水阀门、关闭排污阀;

    2)当储污缸在存污到一定高度时,应排污。排污时打开排污阀,直到清水流出;
    3)排污完毕后,关闭排污阀即可;
    4)如排污压力不足,可关闭出水处的阀门;



    香蕉视频一直看一直爽过滤 · 技术参数

    香蕉视频一直看一直爽过滤设备携手各行业打造满足香蕉视频APP污污需求产品的保障

    香蕉视频一直看一直爽过滤 · 资质荣誉

    香蕉视频一直看一直爽过滤设备携手各行业打造满足香蕉视频APP污污需求产品的保障

    香蕉视频一直看一直爽过滤 · 厂房设备

    香蕉视频一直看一直爽过滤设备携手各行业打造满足香蕉视频APP污污需求产品的保障

    版权所有COPYRIGHT ©2021 新乡市香蕉视频一直看一直爽过滤设备有限公司     备案号:豫ICP备29766154号-1
    网站地图